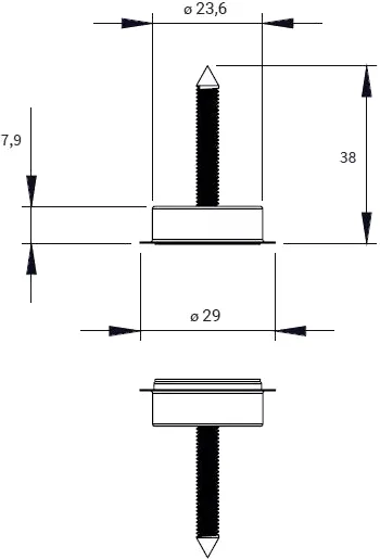
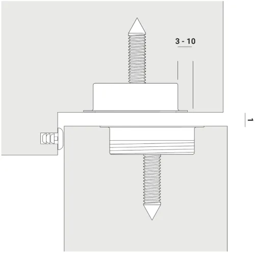
Magnetická západka dverí STOPPINO CLOSE
STOPPINO CLOSE je zatvárací systém pre dvere bez tradičných zámkov.
local_shipping Doručenie zdarma pre všetky objednávky nad 100€


Doručenie tovaru
Kuriér - 4,50€
Tovar zasielame cez kuriérsku spoločnosť GLS na Vašu adresu.
Doba doručenia: do 48 hodín od odoslania z nášho skladu.
Osobný odber na pobočkách Zásielkovňa.sk - 3,70€
Zoznam výdajných miest nájdete na tomto odkaze: Výdajné miesta Zásielkovňa >>
Doba doručenia na pobočku: 2-3 pracovné dni od odoslania z nášho skladu.
Dôležitá informácia: tento dopravca má určité rozmerové a váhové obmedzenia. Ak sa tento spôsob doručenia nezobrazí vo výbere pri zadávaní objednávky, znamená to, že objednávku nie je možné prepraviť týmto dopravcom.
Doručenie pri objednávke nad 100€: Zdarma pre všetky typy doručenia.